RTMS 020 G MS
下载内容
pdf
pdf
(1.94 MB)
RTMS 020 G MS
项目编号:
T0050109899
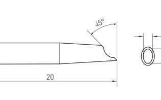
RTMS Micro 翼状烙铁头 直径:1.2 x 2.0 mm, MIL-SPEC
电子、医疗技术和航空航天工业的生产发展速度比以往任何时候都要快,因为元件得更复杂。 凭借新一代的RTMS MS智能型烙铁头,Weller智能型烙铁头满足日益增长的这些需求,每个烙铁头内置的芯片满足客户对功能的额需求
电子、医疗技术和航空航天工业的生产发展速度比以往任何时候都要快,因为元件得更复杂。 凭借新一代的RTMS MS智能型烙铁头,Weller智能型烙铁头满足日益增长的这些需求,每个烙铁头内置的芯片满足客户对功能的额需求
Product features
-
极快的 5秒升温时间
-
最高的额精度:
焊笔握持处与烙铁头焊接面之间距离短,可实现精确焊接工作。 -
清晰的识别智能烙铁头
-
烙铁头的ID编码和数据存储实现全过程控制
-
精确的数据源于烙铁头的温度校正功能
-
快速,安全,简便地更换烙铁头
-
烙铁头的ID编码和数据存储实现全过程控制
-
精确的数据源于烙铁头的温度校正功能
-
快速,安全,简便地更换烙铁头
-
最大的保护:
(IPC工业标准 - TM-650 2.5.33)
下载内容
pdf
pdf
(1.94 MB)
技术数据
| 长度 | 20mm |
| Mil-Spec | 是的 |
| 烙铁头系列 | Smart RT Micro |
| 烙铁头形状 | Gullwing |
| 烙铁头类型 | MS |
| UPC | 037103369482 |
| Works With | WXMPS MS |
| 产品系列 | SMART RT微型有源焊头 |
下载内容
-
下载 jpg jpg (162.71 KB) jpg (162.71 KB)
下载 jpg jpg (938.8 KB) jpg (938.8 KB)
下载 jpg jpg (110.02 KB) jpg (110.02 KB) -
WEL_Poster_WXsmart_Irons_T0055751500下载 pdf pdf (1.94 MB) pdf (1.94 MB)
您正在
搜索特定内容吗?
搜索特定内容吗?